沉寂许久的北方大陆最近♊引人关注𒈔。在2月份,不仅举办开年首场重磅会议,推出VTR特约服务中心,还“官宣”全面启动以中医视力养护为业务主体的甄视康事业部。
然而,“甄视康事业部”上线不足一月,就在3月14日被按下了停止键。
对此,北方大陆公共事务负责人在接受新浪潮记者采访时表示,“起初双方确有ꦬ合作意向,但在双方未签署合同之前,对方就将消息散播出去,我方了🐽解到对方有些负面消息,也做了一些工作,发现对方并非稳扎稳打的做产品,考虑到我方声誉,故决定终止合作。”
北京康目医药科技有限公司则向新浪潮记者表示,不便接受采访。
未足月的“合作”
3月14日,北方大陆发布公告称,与北京康目医药科技有限公司旗下品牌ꦉ“甄视康”终止合作关系,并称“甄视康”及相关人员不得以“北京北方大陆生物”品牌或名义对外进行任何形式的产品推广、销售及服务工作。同时,免除北方大陆甄视康事业部总裁刘冬洋、市场总监邵士航、✨市场总监杨杨三人的职务。

新浪潮记者了解到,此时距离北方大陆“牵手”甄视康,尚未足月。
而在此前2月19日,北方大陆微信公众号发布文🌊章称,“在经过董事会认真研究分析后确定,决定自即日起,全面启动以中医视力养护为业务主体的甄视康事业部。”“经集团董事会认真筛选,由北方大陆集团刘冬洋先生出任甄视康事业部总裁,全🐈面负责该事业部的市场拓展与经营管理等所有工作,事业部的总监由邵士航、杨杨出任。”

如今,该公众号文章已经删除。
对于为何会“闪婚闪离”,北方大陆公共事务负责人在接受新浪潮记者采访时表示,双方🔯并未正式开展合作,“起初确有合作意向,但在双方未签署合同之前,对方就将消息散播出去,我方了解到对方有些负面消息,也做出了一些工作,发现对方并🧜非稳扎稳打的做产品,考虑到我方声誉,故决定终止合作。”
此外,北方大陆公共事务负责人表示,虽然双方合作没多久,“甄视康”及相关人员已经𒁏在以“北京北方大陆生物”品牌或名义对外进行产品推广、销售及服务工作。如今已解除合作,这类行为将不被允许。
新浪潮记者就此事联系北京康目医药科技有限公司,对方表示,不便接受采访。
合作方“负面缠身”?
该事件要从2月说起🔥。2月中旬,🎀有消息称,北方大陆集团全面启动以中医视力养护为业务主体的甄视康事业部。甄视康事业部是基于一支长期致力于中医视力养护为事业核心的团队而建立,目前业务已遍布华中、华南、华东、东北等10几个省份,拥有100余家视力康复中心。
那么,“甄视康”是何来头?是否如北方大陆公共事务负责人所言“有些负面”?
根据公告,“甄视康”是北京康目医药科技有限公司(以下简称“康目”)旗下品牌。天眼查信息显示,康目成立于2005年10月,由法人刘冬洋全资持股。值得注意的是,在北方大陆与“甄视康”合作时,刘冬洋出🙈任🐭北方大陆甄视康事业部总裁。

不仅如此,刘冬洋还身兼多家公司的法人,包括2021年12月成立的北京甄视康医药科技有限公司、2017年7月成立北京百♕奥森医药ꦍ科技有限公司(以下简称“百奥森”)等。
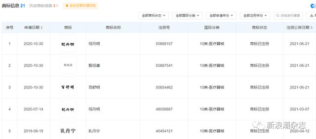
新浪潮记者注意到,百奥森旗下有多个商标,包括视丹明、甄视康、百舒明等。而这些商标因多级分销模式被媒体质疑,目前正陷入涉传风波。以甄视康为例,其采用多级分销💯的模式,共有五级代理,分别꧅为会员代理、县代代理、市代代理、省代代理、董事代理。

此外,百奥森曾在2020年-2021年间多次注册“甄视明”商标,因与江西珍视明药业有限公司旗下知名品牌“珍视明”商标相似,被国家知识产权局驳回。

北方大陆推出VTR特约服务中心
2月11日—14日,北方大陆开年首场会议“2022年北方大陆领导人共赢高级训”在北京举办。
值得注意的是,在这场大会上,北方大陆不仅讲述了企ꩵ业战略、产业布局以及未来五年规划,还推出了新项目——V𒁏TR特约服务中心。
在北方大陆官方微信公众号的文章中,关于VTR特约服务中心有以下描述:“北方大陆产业集团中国区♚执行总裁罗来安,通过一天的时间,深入ᩚᩚᩚᩚᩚᩚᩚᩚᩚ𒀱ᩚᩚᩚ浅出的为学员解析会员模式以及VTR特约服务中心的全面介绍。”并称“十几位市场精英,争先成为健康的使者。并率先在各地签约成立VTR特约服务中心。”

那么,“VTR特约服务中心”具体是指什么?
在接受新浪潮记者采访时,北方大陆公共事务负责人表示,VTR特约服务中心是线下实体店,“是地面连锁的店铺,我们一直注重产品落地。北方大陆作为拿牌企业,一直深耕于直销行业。今后,我司也将注重实体市场。”
据介绍,北方大陆2022年坚持“稳健、规范、可持续发展”的管理战略, 以“再生科技”为产品理念,做大做实供应链,以赋能直销发展为产品战略,以“线上传播+线下成交+爆款引流+中小型招商沙龙会+高中低层级培训+高端行业峰会”为市场拓展战略,以“会员体系+店𒁏铺体系+云端商城+引流体系”为未来五年营销模式及动能强劲的市场政策战略。
关于此事后续进展,新浪潮将持续关注。
文字:新浪潮
好了,这篇文章的内容发货联盟就和大家分享到这里,如果大家网络推广引流创业感兴趣,可以添加微信:80709525 备注:发货联盟引流学习; 我拉你进直播课程学习群,每周135晚上都是有实战干货的推广引流技术课程免费分享!